Glock Tactical Suppressor GTS / .45
Korzystając z kwarantanny w końcu mam trochę czasu żeby coś napisać.
Prawie dziesięć lat zajęło mi dotarcie do tej konstrukcji. Przez ten czas zbierałem każdą informację jaką udało mi się zdobyć, zapisywałem każde nawet najbardziej kiepskie jakościowo zdjęcie, ale wiele tego nie było. Wreszcie się udało i wpadł mi w łapy – jedyny i niepowtarzalny – tłumik firmy Glock – „Glock Tactical Suppressor” (GTS). Gdzie mi wpadł niestety zostanie tajemnicą 😉
Ale po kolei:
Wszystko zaczęło się w 2010 roku po opublikowaniu na YT tego filmu:
Filmik wywołał spore zamieszanie bo nikt wcześniej o tym wynalazku nie słyszał. Od tego czasu pojawiło się sporo domysłów, ale po mimo upływu czasu dużo więcej informacji się nie pojawiło.
Na amerykańskich forach było trochę spekulacji jednak najwięcej było głosów, że to faje ale bez sensu. O sensie czy bezsensie takiego rozwiązania jeszcze będzie dalej. Faktem jest, że w żadnym mi znanym katalogu Glocka nie występuje, w instrukcji dla rusznikarzy też nie. Na kursach rusznikarskich nic o nim nie wspominają (podobno kiedyś ktoś na kursie coś słyszał – podobno ). Jak ja brałem udział w kursie, na pytanie o tą konstrukcję – instruktor tylko otworzył szeroko oczy i powiedział, że nie ma czegoś takiego. Zresztą sami przyznajcie – słyszeliście kiedyś o tym?

Rysunek pochodzi prawdopodobnie z jakiegoś tajemniczego / profesjonalnego katalogu Glocka lub instrukcji tłumika.
Kilka faktów, które udało się zebrać o GTS:
- Urządzenie przeznaczone jest do użycia z amunicją kalibru .45. Pojawiła się w Internecie informacja o wersji do kalibru .40, ale nie jest to potwierdzone! Na wszystkich dostępnych zdjęciach jest wersja GTS/.45.
- Tłumik jest jednorazowy co oznacza, że producent zapewnia zachowanie sprawności na jeden magazynek – dziesięć – piętnaście strzałów. W praktyce podobno dalej działa skutecznie do dwudziestu pięciu.
- Dla zwiększenia sprawności wykorzystywana jest ciecz (olej?). W patencie opisana jako nie toksyczna i niezamarzająca we wszystkich strefach klimatycznych. Cieczą nasączone jest „gąbczaste tworzywo” tak aby nie było możliwości wycieku. Faktem jest, że potrząsając tłumikiem nie słychać żadnego chlupania. Proszę się nie przywiązywać do tego jak brzmi tłumik w filmiku powyżej! Z doświadczenia wiem, że zdecydowana większość prób nagrania, porównania strzału z broni wyposażonej w tłumik i bez – nie przynosi dobrych rezultatów. Często sfilmowany strzał z tłumikiem wydaje się być nawet głośniejszy niż bez! Faktem jest, że GTS jest bardzo sprawny!
- Budowa – zarówno obudowa jak i przegrody (deflektory) wykonane są z tworzywa sztucznego i gumy, jedynymi elementami metalowymi jest prosty mechanizm zatrzaskujący na lufie i dwa nity. Przynajmniej dwa deflektory są elastyczne – pierwszy i ostatni (pełnią też funkcję korków tak aby do środka nie dostawała się np. woda. Na górnej powierzchni są naniesione trzy, nazwałbym to „muszki”, które pomagają w celowaniu. Co prawda oś lufy nie przechodzi przez tłumik centralnie i można wykorzystywać standardowej wysokości przyrządy, jednak widać je tylko około połowy.
- Wylot zamknięty jest gumowym korkiem (jeden z deflektorów elastycznych). We wlot wkomponowany jest bardzo pomysłowy mechanizm, który pozwala zamontowanie na lufie. Do użycia z tłumikiem opracowana jest specjalna lufa, wydłużona i posiadająca dwa nacięcia.

Specjalna lufa Glocka 21 do użycia z tłumikiem GTS. Zdjęcie pochodzi z forum Glock Talk
Nic mi nie wiadomo czy taka lufa jest od razu w zestawie np. z kilkoma tłumikami, czy tłumiki zakupowane są oddzielnie. Faktem jest, że nigdzie takiej lufy do sprzedania nie widziałem. Aby doczepić tłumik wystarczy wsunąć go na lufę. Połączenie jest naprawdę solidne. Aby zdjąć – wystarczy przekręcić urządzenie na lufie o 90 stopni i zsunąć je. System montażu pozwala na bardzo szybkie doczepienie tłumika w porównaniu z tradycyjnym gwintem – jest ono naprawdę szybkie !
Dane – zmierzone własnoręcznie, jak to się mówi „z natury”:
– waga – 150 g !!!
– długość – 175 mm
– szerokość – 35 mm
Jestem przekonany, że wszyscy zdają sobie sprawę, że większość konstrukcji współczesnych pistoletów oparta jest na ryglowaniu tzw. Browninga co polega między innymi na „przekoszeniu” lufy. Przez to, że profesjonalne tłumiki są wykonane najczęściej ze stalli i aluminium to mają dość sporą masę. Powoduje to, że przy strzale nie ma wystarczającej energii potrzebnej do sprawnego przeładowania broni. Aby nie było zacięć w tłumikach pistoletowych stosuje się wzmacniacz odrzutu – np. tzw. „Urządzenie Nielsena”. Pozwala ono na strzelanie bez zacięć. Taka konstrukcja powoduje, że tłumiki są jeszcze większe i cięższe. Zastosowanie tworzyw sztucznych w GTS pozwoliło na znaczne zmniejszenie masy (do tylko 150 g). Z tego też powodu konstrukcja może być maksymalnie prosta. Dla porównania tłumik firmy B&T Impuls II (wg. mnie jedna z najlepszych konstrukcji) to 360 g.
Dlaczego takie rozwiązanie wydaje się być bez sensu – Wszystkie głosy o bezsensowności tej konstrukcji pochodzą od cywilów – głównie z USA. I tu się z nimi zgodzę – z ich perspektywy to totalne kuriozum.
Bo tak – trzeba najpierw wydać 200$ na tzw. znaczek aby nabyć uprawnienia do posiadania tego „ustrojstwa”. Trzeba to też kupić, a to kolejne sto kilkadziesiąt zielonych (podobno cena oscyluje w okolicach 130$ ale to nie potwierdzona informacja). W sumie wychodzi ponad 300 $ żeby sobie strzelić kilkanaście – kilkadziesiąt razy. Daje to bardzo wysoką cenę w przeliczeniu na jeden strzał!
No ale czy to sprzęt przeznaczony dla cywilów ? A no nie i tu przejdę do, moim zdaniem, zalet. Najpierw jednak trzeba zadać sobie pytanie – komu i po co są potrzebne tłumiki na broni krótkiej ? Nie ukrywam, że z różnych powodów to ciężki temat – mity, „opowieści dziwnej treści”, zabobony łamane przez „poprawność polityczną”. Ale spróbujemy – opisze tu to co wynika z moich osobistych doświadczeń i obserwacji.
Użytkownikami tłumików na broni krótkiej będą najczęściej żołnierze / funkcjonariusze sił specjalnych. Podkreślam jeszcze raz, że mowa tu o broni krótkiej czyli zazwyczaj zapasowej. Oczywiście są, a raczej były sytuację gdzie broń krótka miała stać się podstawową. Przykładem próby wprowadzenia takiego rozwiązania jest MK23 zaprojektowany dla US SOCOM. Jak wiemy nie sprawdziło się to za bardzo. W przeciwieństwie do broni długiej, na krótkiej, tłumiki ze względu na swoje wymiary i wagę, rzadko będą noszone „połączone” w kaburze. Zresztą samych kabur do takiego zestawu jest jak na lekarstwo. Dlatego też najczęściej tłumik będzie noszony w oddzielnym pokrowcu – czyli kolejny klamot do noszenia. Dołączany będzie dopiero kiedy nastąpi taka potrzeba. Jeszcze jedna uwaga – w pistoletach z tłumikami stosuje się przeważnie amunicję poddźwiękową , a w długiej normalna ponaddźwiękową. A do czego będą wykorzystywane tłumiki ? Do walki w bardzo ciasnych pomieszczeniach, likwidacji psów czy do już przysłowiowego „zdejmowania wartowników”. Faktem jest, że z pistoletu wyposażonego w tłumik strzelać się będzie raczej mało, będą to pojedyncze strzały, a wręcz nie zostanie użyty w ogóle.
W takie wymagania moim zdaniem GTS wpasowuje się doskonale. Raz, że jest bardzo lekki, co przy i tak już wielkiej ilości szpeju do noszenia jest bardzo pożądane. Dwa – jego konstrukcja umożliwia bardzo szybki montaż – wtedy kiedy okaże się że jest potrzebny. Trzy – tłumik jest szczelny co z jednej strony umożliwia wykorzystania go „na mokro”(ciecz nie wypłynie), a z drugiej strony w przypadku np. płetwonurków bojowych woda nie dostanie się do środka. w przypadku konstrukcji klasycznych po wyjęciu broni z wody trzeba się pozbyć przynajmniej części wody ze środka! Pozorna największa wada czyli to, że jest jednorazowy i wystarcza na te około piętnastu strzałów – biorąc pod uwagę założenia – wadą nie jest. Tak samo wysoka cena za jeden strzał w przypadku zakupu przez organizację rządowe – nie ma żadnego znaczenia.
Pytaniem jest – dlaczego robią to tylko do kalibru .45?
Moim zdaniem wynika to z tego, że nabój .45 ACP jest poddźwiękowy i nie trzeba stosować specjalnych odmian. Bardzo możliwe, że gdyby opracowano wersję 9 mm w przypadku zastosowania normalnej naddźwiękowej amunicji mogło by dojść do rozsadzenia tłumika, a nawet do poranienia strzelca. Prawdopodobnie producent chciał uniknąć takich sytuacji. Znając życie – wcześniej czy później doszło by do takiego zdarzenia – albo przez przypadek albo „w celu przetestowania” czy się da 😉
Przecież znamy takie przypadki z życia(akurat te były dość głośne):
- Stosowanie amunicji przeznaczonej do pistoletów maszynowych przez żołnierzy NSWC, co spowodowało kilka pęknięć zamków w pistoletach M9, co z kolei miało wpływ na modyfikację samego M9 i wprowadzenie na uzbrojenie „Navy Seals” pistoletów Mk 25 mod 0.
- Albo z naszego podwórka – Omyłkowe zastosowanie amunicji z pociskiem W8 zamiast gumowych podczas tłumienia zamieszek na juwenaliach w Łodzi w 2004 roku. Doszło wtedy do dwóch ofiar śmiertelnych.
Wbrew pozorom takie przypadki zdarzają się dość często. Skoro ktoś może pomylić amunicję ślepą z ostrą, to tym bardziej łatwo pomylić różne rodzaje tej samej amunicji, która często z wyglądu nie będzie się różnić w ogóle, albo o jej przeznaczeniu świadczyć będzie tylko opis na opakowaniu.
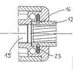
Udało mi się dotrzeć do Europejskiego Patentu Pana Glocka. Wniosek został zgłoszony przez Gastona Glocka w roku 2006 i opatentowany 21.03.2007 roku pod numerem EP 1764577 (A1). Poniżej kilka fragmentów:
- Fragment strony tytułowej patentu
- Rysunek przekroju GTS z patentu
- Rysunek systemu montażu z patentu
Znane mi egzemplarze mają następujące oznaczenia po lewej strony korpusu: logo Glocka AUSTRIA GTS / .45 JS00185 (numer z prefiksem JS potem 00 i kolejne trzy cyfry (najwyższy numer jaki widziałem to osiemset kilkadziesiąt)). Jednakże na kilku zdjęciach z praktycznego użycia można zaobserwować, że opisy znajdują się po prawej stronie tłumika, więc różnie z tym bywa.
- Tłumik Glock GTS / .45 lewa strona i opis
- Tłumik Glock GTS / .45 widoczne dodatkowe trzy „muszki” ułatwiające celowanie
- Tłumik Glock GTS / .45 prawa strona
- Tłumik Glock GTS / .45 góra widoczne dodatkowe trzy „muszki” ułatwiające celowanie
- Tłumik Glock GTS / .45 mechanizm do montowania na specjalnej lufie
- Tłumik Glock GTS / .45 gumowy korek zamykający wylot
Kilka zdjęć z użycia przez płetwonurków z DGSE (Direction générale de la sécurité extérieure) francuska agencja wywiadu wojskowego i strategicznego oraz Commandos Marine czyli jednostki specjalnej Francuskiej Marynarki Wojennej.
- Fragment z artykułu w magazynie RAID o jednostce DGSE
- Glock 21 z tłumikiem GTS w akcji. zdjęcie z internetu
- Glock 21 z tłumikiem GTS. Zdjęcie z internetu
- Widoczny brak uszczelki co wskazuje że tłumik jest zużyty i używany tylko w celach szkoleniowych. Zdjęcie z magazynu RAID
- Glock 21 z tłumikiem GTS w akcji. zdjęcie z internetu
- Glock 21 wyposażony w specjalną lufę do użycia z tłumikiem GTS. Zdjęcie z internetu
Na koniec jeszcze jedna ciekawostka:
Zaraz po opublikowaniu filmu w 2010 roku na jednym z amerykańskich forów – „silencertalk”, powstał projekt użytkownika LavaRed, takiego tłumika z tworzywa sztucznego inspirowanego GTS. Poniżej wklejam zdjęcie tego jak to miało wyglądać. Projekt nazywał się „Vagabond 45”. Biorąc pod uwagę technologię jakiej nie było wtedy, to dzisiaj, dobierając tylko odpowiedni materiał – wydrukowanie czegoś takiego wydaje się być proste. Aktualnie – patrząc po trendach – technologia druku 3D w ogóle wydaje się być przyszłością tłumików, nie tylko z tworzywa!

Projekt Vagabond 45
Podsumowując:
Uważam tą konstrukcję za bardzo udaną. Została wyprodukowana w konkretnym celu i spełnia go doskonale. Zastanawiającym może być dlaczego ta konstrukcja jest tak mało znana. Biorąc jednak pod uwagę klienta docelowego – przestaje być to aż tak dziwne. Brakuje mi w tym wszystkim tylko specjalnej wersji pistoletu gdzie jest możliwość zablokowania zamka na czas strzału – pozwoliło by to w razie potrzeby wykorzystać 100% sprawności tłumika. Chociaż kto wie – może taki Glock istnieje? Z drugiej strony może takie rozwiązanie nie jest współcześnie potrzebne – w końcu w programie OHWS (Offensive Handgun Weapon System) na pewnym etapie z tego zrezygnowano i MK23 tego nie ma.
Przez te kilka lat udało mi się zlokalizować kilku przedsiębiorców, którzy zajmowali się dystrybucją GTS. Były to dwa sklepy w RPA – każdy praktycznie mógł to u nich kupić. Ponadto po jednej firmie w Wielkiej Brytanii oraz Turcji. Obydwa przedsiębiorstwa zajmują się dostarczeniem sprzętu „dla rządu”. Z oficjalnych użytkowników znane są tylko te jednostki ze zdjęć które zamieściłem i to z jednego kraju. Nie oznacza to, że nie ma ich na świecie więcej. Po prostu inni się nie chwalą, albo ich zdjęcia jeszcze nie wypłynęły!
Jeżeli ktoś posiada jakieś inne informację lub zdjęcia to z przyjemnością uzupełnię opis. Proszę o kontakt!
Tradycyjnie – dyskusję można prowadzić na FORUM














































